Texas Instruments TPS546B25/TPS546B25W Synchronous Buck Converters

Texas Instruments TPS546B25/TPS546B25W Synchronous Buck Converters are highly integrated, stackable buck converters with D-CAP4 control topology for fast transient response. These converters support an input voltage range of 4V to 18V (down to 2.7V with external bias) and offer single-phase or stacked configurations of 2x, 3x, or 4x. The TPS546B25/TPS546B25W converters feature PMBus 1.5 compliance and offer extensive telemetry, including voltage, current, and temperature. These buck converters operate within a 400kHz to 2MHz operating frequency range (four discrete settings via a pin-strap, with additional settings available through PMBus®). Additional features include programmable internal loop compensation, selectable cycle-by-cycle valley current limit, and open-drain power-good output. The TPS546B25/TPS546B25W buck converters are lead-free devices and are RoHS compliant without exemption. Typical applications include servers and cloud computing POLs, hardware accelerators, and Network Interface Cards (NICs).

Features

  • 2.7V to 18V input voltage range with external bias
  • 4V to 18V input voltage range without external bias
  • 0.4V to 5.5V output voltage range
  • Supports 25A single-phase or 2 x, 3 x, or 4 x stacked configurations
  • Rdson_HS = 2.6mΩ, Rdson_LS = 1mΩ
  • 400kHz to 2MHz operating frequency (four discrete settings through pin-strap, additional settings through PMBus®)
  • PMBus programmable:
    • Revision 1.5 compliant with PASSKEY security feature
    • Input voltage, output voltage, output current, temperature telemetry
    • Programmable overcurrent, overvoltage, undervoltage, overtemperature protections
    • Includes single command write function in stacked configuration
    • Extended write protection feature
    • Non-volatile memory to store configuration settings
  • Two methods for programming the output voltage:
    • Internal resistor divider (discrete settings) with boot-up voltage selected by pin-strapping
    • External resistor divider (continuous settings) with boot-up voltage selected by VBOOT
  • Precision voltage reference and differential remote sense for high output accuracy:
    • ±0.5% DAC accuracy from 0°C to 85°C junction
    • ±0.85% VOUT tolerance from -40°C to 125°C junction
  • Selectable FCCM/DCM in single phase only
  • Start-up without PMBus communication through pin-strapping
  • Safe start-up into prebiased output
  • 0.5ms to 16ms programmable soft-start time
  • D-CAP4 control topology with fast transient response, supporting all ceramic output capacitors
  • Programmable internal loop compensation
  • Selectable cycle-by-cycle valley current limit
  • Open-drain power-good output

Applications

  • Server and cloud-computing POLs
  • Hardware accelerator
  • Network Interface Card (NIC)

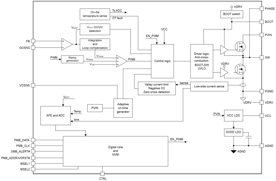
Block Diagram when External Feedback is Selected

Block Diagram - Texas Instruments TPS546B25/TPS546B25W Synchronous Buck Converters

Block Diagram when Internal Feedback is Selected

Block Diagram - Texas Instruments TPS546B25/TPS546B25W Synchronous Buck Converters

Typical Efficiency Graph

Performance Graph - Texas Instruments TPS546B25/TPS546B25W Synchronous Buck Converters
Published: 2025-11-04 | Updated: 2025-12-01