Texas Instruments AFE58JD28 16-Ch Ultrasound Analog Front End
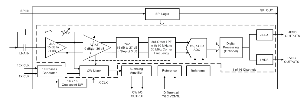
Texas Instruments AFE58JD28 16-Ch Ultrasound AFE is designed for ultrasound systems where high performance, low power, and small size are required. The device uses a multichip module (MCM) with two dies, the voltage-controlled amplifier (VCA) die and the analog-to-digital converter (ADC) die. The VCA die has 16 channels that interface with the 16 channels of the ADC die. Each channel in the VCA die can be configured in one of two modes, time gain compensation (TGC) mode or continuous wave (CW) mode. The 16 channels of the ADC die can be configured to operate with a resolution of 14 bits or 12 bits. The resolution can be traded off with conversion rate and operates at maximum speeds of 65MSPS and 80MSPS at 14-bit and 12-bit resolution. The AFE58JD28 allows various power and noise combinations to be selected, making it suitable for ultrasound AFE solutions for systems with strict battery-life requirements.Features
- 5Gbps JESD Interface:
- JESD204B Subclass 0, 1, and 2
- 2, 4, or 8 Channels per JESD lane
- 16-Channel AFE for ultrasound applications:
- Optimized signal chains for TGC and CW modes
- Four programmable TGC profiles
- Low-Noise Amplifier (LNA) with:
- Programmable gain of 21dB, 18dB, and 15dB
- Linear input signal amplitude:
- 0.37VPP, 0.5VPP, and 0.71VPP
- Active termination
- Voltage-Controlled Attenuator (VCAT):
- 0dB–36dB Attenuation range
- Programmable Gain Amplifier (PGA):
- 18dB to 27dB in Steps of 3dB
- 3rd-Order, linear-phase, Low-Pass Filter (LPF):
- Cutoff frequency from 10MHz to 30MHz
- ADC Modes (Idle-Channel SNR):
- 75dBFS 14-Bit, 65MSPS Mode
- 72dBFS 12-Bit, 80MSPS Mode
- Optimized for noise and power:
- TGC Mode of 102mW/Ch at 0.8nV/√Hz, 65MSPS, 14-Bit output
- CW Mode of 63mW/Ch
- ±0.4dB (Typical) Excellent device-to-device gain matching
- Fast and consistent overload recovery
- Continuous Wave (CW) path with:
- Low close-in phase noise of –159dBc/Hz at 1kHz frequency offset off 2.5MHz carrier
- λ/16 Phase resolution
- Supports 16x and 8x CW clocks
- 12dB Suppression of 3rd and 5th harmonics
- Digital I/Q demodulator:
- Fractional decimation filter M = 1 to 63 with increments of 0.25
- Data throughput reduction after decimation
- On-chip RAM With 32 preset profiles
- LVDS Interface with a speed up to 1Gbps
- 15mm × 15mm NFBGA-289 Small package
Applications
- Medical ultrasound imaging
- Nondestructive evaluation equipment
- Sonar imaging equipment
Block Diagram
Published: 2018-07-13
| Updated: 2022-11-21
